DBÊÓѶ

Ò»ÖÖÊÖ¶¯Ê½Æø¶¯µ÷Àí·§µÄÖÆ×÷ÒªÁì

×÷Õߣº»¢ÑÀ  ÈªÔ´£ºwww.cmpvalve.com  ¸üÐÂʱ¼ä£º2020-08-20 11:12:58  µã»÷´ÎÊý£º

¡¡¡¡±¾ÊÊÓÃÐÂÐÍÉæ¼°´¬²°µ÷Àí·§ÊÖÒÕÁìÓò £¬ÏêϸΪһÖÖÊÖ¶¯Ê½Æø¶¯µ÷Àí·§¡£

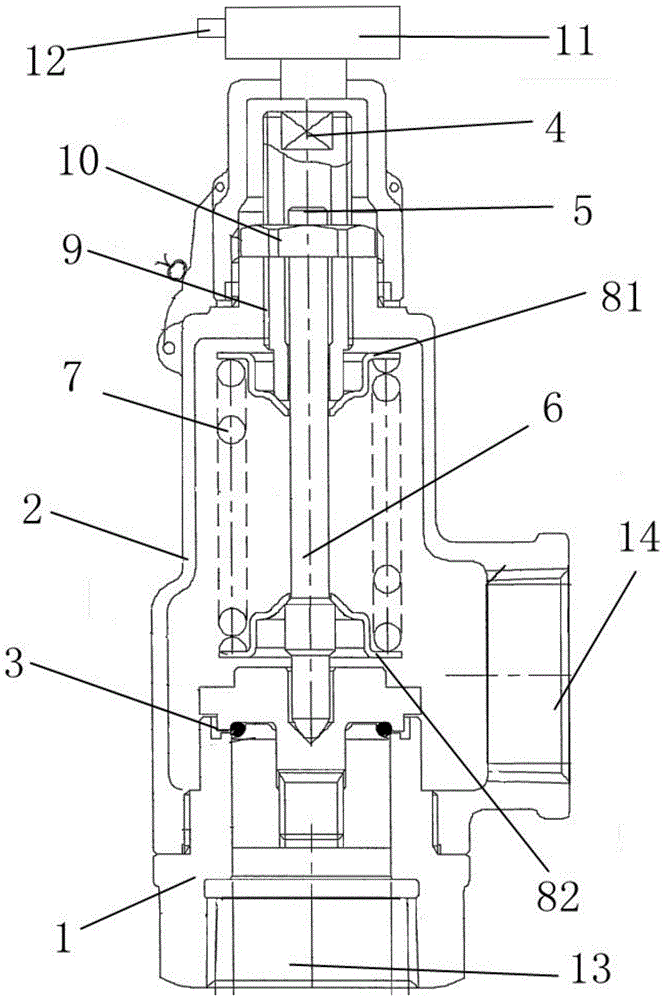
ÊÖ¶¯Ê½Æø¶¯µ÷Àí·§ÕûÌå½á¹¹Í¼


¡¡¡¡Åä¾°ÊÖÒÕ£º


¡¡¡¡Æø¶¯µ÷Àí·§¾ÍÊÇÒÔѹËõ¿ÕÆøÎª¶¯Á¦Ô´ £¬ÒÔÆø¸×ΪִÐÐÆ÷ £¬²¢½èÖúÓÚµçÆø·§ÃŶ¨Î»Æ÷¡¢×ª»»Æ÷¡¢µç´Å·§¡¢±¬Î¥·¨µÈ¸½¼þÈ¥Çý¶¯·§ÃÅ £¬ÊµÏÖ¿ª¹ØÁ¿»ò±ÈÀýʽµ÷Àí £¬ÎüÊÕ¹¤Òµ×Ô¶¯»¯¿ØÖÆÏµÍ³µÄ¿ØÖÆÐźÅÀ´Íê³Éµ÷Àí¹ÜµÀ½éÖʵÄÁ÷Á¿¡¢Ñ¹Á¦¡¢Î¶ȵÈÖÖÖÖ¹¤ÒÕ²ÎÊý £¬Æø¶¯µ÷Àí·§µÄÌØµã¾ÍÊÇ¿ØÖƼòÆÓ £¬·´Ó¦¿ìËÙ £¬ÇÒʵÖÊÇå¾² £¬²»ÐèÁíÍâÔÙ½ÓÄÉ·À±¬²½·¥ £¬Æø¶¯µ÷Àí·§Í¨³£ÓÉÆø¶¯Ö´Ðлú¹¹ºÍµ÷Àí·§ÅþÁ¬×°Öõ÷ÊÔ×é³É £¬Æø¶¯Ö´Ðлú¹¹¿É·ÖΪµ¥×÷ÓÃʽºÍË«×÷ÓÃʽÁ½ÖÖ £¬µ¥×÷ÓÃÖ´ÐÐÆ÷ÄÚÓи´Î»µ¯»É £¬¶øË«×÷ÓÃÖ´ÐÐÆ÷ÄÚûÓи´Î»µ¯»É¡£ÆäÖе¥×÷ÓÃÖ´ÐÐÆ÷ £¬¿ÉÔÚʧȥÆðÔ´»òͻȻ¹ÊÕÏʱ £¬×Ô¶¯¹éλµ½·§ÃųõʼËùÉèÖõĿªÆô»ò¹Ø±Õ״̬¡£


¡¡¡¡ÏÖÔÚÊг¡ÉÏͨÓÃµÄÆø¶¯µ÷Àí·§ £¬Ò»Ñùƽ³£½ÓÄÉÂÝÎÆ¾ÙÐз§ÌåÀο¿¡£ÕâÖֽṹµ¼ÖÂÆø¶¯µ÷Àí·§²ð×°²»Òס£²»µ«Ìá¸ßÁËÊÖ¹¤²Ù×÷µÄÀͶ¯Ç¿¶È £¬ÇÒ¶à´Î²ð×°ºóÈÝÒ×·ºÆðÊý¾Ý½û¾øÈ· £¬Îó²î½Ï´óµÄÎÊÌâ¡£ÓÉÓÚ¼Ó¹¤Îó²î¡¢×°ÅäµÈ·½ÃæµÄÓ°Ïì £¬µ±Òƶ¯·§¸Ëʱ £¬·§°êÃÜ·âÃæºÍ·§×ùÃÜ·âÃæÖ®¼äµÄ±¬·¢Ò»¶¨¾àÀë £¬µ±ÐèÒª¹Ø±Õ¸Ã·§Ê± £¬ÎÞ·¨µÖ´ïÈ«ÃÜ·â״̬ £¬×ß©Á¿´ó £¬¾ßÓмӹ¤ÄÑÌâ¡¢±¾Ç®¸ßµÄÊÖÒÕȱÏÝ¡£


¡¡¡¡ÊÖÒÕʵÏÖÒªËØ£º


¡¡¡¡±¾ÊÊÓÃÐÂÐ͵ÄÄ¿µÄÔÚÓÚÌṩһÖÖÊÖ¶¯Ê½Æø¶¯µ÷Àí·§ £¬Í¨¹ýÔÚ·§ÌåÍâ²àÉèÖõ÷ÀíÂݸË £¬Í¨¹ýÊÖ¶¯µ÷ÀíËø½ôÂÝÄ¸Ëø½ôÆø¶¯µ÷Àí·§ £¬ÒÔ½â¾öÉÏÊöÅä¾°ÊÖÒÕÖÐÌá³öµÄÎÊÌâ¡£


¡¡¡¡ÎªÊµÏÖÉÏÊöÄ¿µÄ £¬±¾ÊÊÓÃÐÂÐÍÌṩÈçÏÂÊÖÒռƻ®£ºÒ»ÖÖÊÖ¶¯Ê½Æø¶¯µ÷Àí·§ £¬°üÀ¨·§Ìå¡¢·§¸Ç¡¢·§°ê×é¼þ¡¢ÅþÁ¬Æ÷¡¢Éϲ¿·§¸Ë¡¢Ï²¿·§¸Ë¡¢µ¯»É¡¢µ¯»É×ù¡¢µ÷ÀíÂݸˡ¢Ëø½ôÂÝĸÒÔ¼°Æø¶¯Ö´ÐÐÆ÷ £¬ËùÊöÆø¶¯Ö´ÐÐÆ÷ÉèÓÚËùÊö·§ÌåµÄÉÏ·½ £¬ËùÊöÅþÁ¬Æ÷Ò»¶Ëͨ¹ýÉϲ¿·§¸ËÓëÆø¶¯Ö´ÐÐÆ÷ÅþÁ¬ £¬ËùÊöÅþÁ¬Æ÷ÁíÒ»¶Ëͨ¹ýϲ¿·§¸ËÓë·§ÌåÀο¿ÅþÁ¬ £¬ËùÊöµ÷ÀíÂݸËÉèÓÚËùÊöÅþÁ¬Æ÷Á½²à £¬ËùÊöËø½ôÂÝĸÐý½ÓÓëËùÊöµ÷ÀíÂݸËÉÏ £¬ËùÊö·§¸ÇÉèÓÚËùÊöÆø¶¯Ö´ÐÐÆ÷Óë·§ÌåÖ®¼ä £¬ËùÊöϲ¿·§¸Ë϶ËÉèÓÚËùÊö·§°ê×é¼þÄÚ £¬ËùÊöϲ¿·§¸ËÁ½²àÉèÓе¯»É×ù £¬ËùÊöµ¯»ÉÉèÓÚËùÊöµ¯»É×ùÉÏ £¬ËùÊö·§ÌåÏ·½ÉèÓÐÈë¿Ú £¬ËùÊö·§ÌåÓÒ²àÉèÓгö¿Ú¡£


¡¡¡¡ÓÅÑ¡µÄ £¬·§°ê×é¼þ°üÀ¨·§°ê¡¢·§°ê×ù¡¢·§°êµ¯»ÉÒÔ¼°oÐÍÃÜ·âȦ £¬ËùÊö·§°ê×ùÉèÓÚ·§°êµÄÏ·½ £¬ËùÊöoÐÍÃÜ·âȦÉèÓÚËùÊö·§°êÓë·§°ê×ùÖ®¼ä £¬ËùÊö·§°êµ¯»ÉÉèÓÚËùÊö·§°ê×ùÓë·§ÌåÖ®¼ä¡£


¡¡¡¡ÓÅÑ¡µÄ £¬·§°ê³ÊtÐͽṹ £¬ËùÊö·§°êÖв¿ÉèÓа¼²Û £¬ËùÊö°¼²ÛÓëËùÊöϲ¿·§¸ËµÄµ×¶ËÏàÊÊÅä¡£


¡¡¡¡ÓÅÑ¡µÄ £¬µ¯»É×ùÓëËùÊöϲ¿·§¸Ë³Ê±ÊÖ±½á¹¹ £¬ËùÊöµ¯»ÉÓëËùÊöϲ¿·§¸Ë³ÊƽÐнṹ¡£


¡¡¡¡ÓÅÑ¡µÄ £¬µ¯»É×ù°üÀ¨Éϵ¯»É×ùÒÔ¼°Ïµ¯»É×ù £¬ËùÊöÉϵ¯»É×ùÓëËùÊöϵ¯»É×ù³Ê¾¶Ïò¶Ô³ÆÂþÑÜ¡£


¡¡¡¡ÓÅÑ¡µÄ £¬Æø¶¯Ö´ÐÐÆ÷Ò»²à»¹ÉèÓеçÀÂÃÜ·âÌס£


¡¡¡¡ÓëÏÖÓÐÊÖÒÕÏà±È £¬±¾ÊÊÓÃÐÂÐ͵ÄÓÐÒæÐ§¹ûÊÇ£º


¡¡¡¡(1)±¾ÊÊÓÃÐÂÐÍͨ¹ýÆø¶¯µ÷Àí·§Öеķ§Ìå¡¢Éϲ¿·§¸Ë¡¢Ï²¿·§¸Ë¡¢·§°ê¡¢Æø¶¯Ö´ÐÐÆ÷µÈ×é¼þÖ®¼äµÄÏ໥ÅäºÏ £¬Ê¹ÓÃÆø¶¯µ÷Àí·§Äڵĵ÷Àí¸Ë £¬¿ÉÒÔÊÖ¶¯µ÷ÀíÆø¶¯µ÷Àí·§µÄËø½ô½á¹¹ £¬Ê¹µÃµ÷Àí·§ÐÔÄÜÎȹÌ £¬½á¹¹¼òÆÓ £¬±ãÓÚÉú²úÖÆÔìºÍ²Ù×÷¡£


¡¡¡¡(2)±¾ÊÊÓÃÐÂÐÍͨ¹ýÔÚ·§°ê×é¼þÖÐÉèÖ÷§°ê×ùÒÔ¼°·§°êµ¯»É £¬Í¨¹ý·§°ê×ùÒÔ¼°·§°êµ¯»É £¬Ê¹Æø¶¯µ÷Àí·§¾ßÓзÀÕñ¶¯ÐԺõÄÓŵã¡£


¡¡¡¡(3)±¾ÊÊÓÃÐÂÐÍͨ¹ýÔÚ·§°ê×é¼þÖÐÉèÖÃoÐÍÃÜ·âȦ £¬Í¨¹ýoÐÍÃÜ·âȦ¿ÉÒÔÔöÌí·§°êÓëϲ¿·§¸ËµÄÃÜ·âÐÔ¡£


¡¡¡¡(4)±¾ÊÊÓÃÐÂÐÍͨ¹ýÔÚÆø¶¯µ÷Àí·§ÖÐÉèÖÃÅþÁ¬Æ÷ £¬Í¨¹ýÅþÁ¬Æ÷ÅþÁ¬Æø¶¯Ö´ÐÐÆ÷ÒÔ¼°·§Ìå £¬Ê¹µÃÆø¶¯Ö´ÐÐÆ÷ÄÜ·¢¶¯·§ÌåÔËÐС£


¡¡¡¡(5)±¾ÊÊÓÃÐÂÐÍÔÚÉϲ¿·§¸ËÁ½²àÉèÖõ÷ÀíÂݸË £¬Í¨¹ýµ÷ÀíÂݸËÓëËø½ôÂÝĸ֮¼äµÄÅäºÍ £¬ÔÚÆô±Õ·§ÃÅʱ £¬È·±£·§¸Ç¡¢·§ÌåÓë·§°êÖ®¼äµÄÃÜ·âÐÔ¼á³ÖÓÅÒì¡£


¡¡¡¡(6)±¾ÊÊÓÃÐÂÐÍͨ¹ýÔÚÆø¶¯Ö´ÐÐÆ÷Ò»²àÉèÖõçÀÂÃÜ·âÌ× £¬¿ÉÒÔ½«µçÀÂÏß²ØÓÚµçÀÂÃÜ·âÌ×ÖÐ £¬±ÜÃâ±»Íâ½çÇéÐÎÓ°ÏìʹÓá£


¡¡¡¡¸½Í¼ËµÃ÷


¡¡¡¡Í¼1ÎªÆø¶¯µ÷Àí·§ÕûÌå½á¹¹Í¼£»


¡¡¡¡Í¼2Ϊ·§°ê×é¼þ½á¹¹Í¼¡£


¡¡¡¡ÏêϸʵÑé·½·¨


¡¡¡¡ÏÂÃæ½«ÍŽ᱾ÊÊÓÃÐÂÐÍʵÑéÀýÖеĸ½Í¼ £¬¶Ô±¾ÊÊÓÃÐÂÐÍʵÑéÀýÖеÄÊÖÒռƻ®¾ÙÐÐÇåÎú¡¢ÍêÕûµØÐÎò £¬ÏÔÈ» £¬ËùÐÎòµÄʵÑéÀý½ö½öÊDZ¾ÊÊÓÃÐÂÐÍÒ»²¿·ÖʵÑéÀý £¬¶ø²»ÊÇËùÓеÄʵÑéÀý¡£»ùÓÚ±¾ÊÊÓÃÐÂÐÍÖеÄʵÑéÀý £¬±¾ÊÂÓòͨË×ÊÖÒÕÖ°Ô±ÔÚûÓÐ×ö³ö´´Á¢ÐÔÀͶ¯Ìõ¼þÏÂËù»ñµÃµÄËùÓÐÆäËûʵÑéÀý £¬¶¼ÊôÓÚ±¾ÊÊÓÃÐÂÐͱ£»¤µÄ¹æÄ£¡£


¡¡¡¡Çë²ÎÔÄͼ1ºÍͼ2 £¬±¾ÊÊÓÃÐÂÐÍÌṩһÖÖÊÖÒռƻ®£ºÒ»ÖÖÊÖ¶¯Ê½Æø¶¯µ÷Àí·§ £¬°üÀ¨·§Ìå1¡¢·§¸Ç2¡¢·§°ê×é¼þ3¡¢ÅþÁ¬Æ÷4¡¢Éϲ¿·§¸Ë5¡¢Ï²¿·§¸Ë6¡¢µ¯»É7¡¢µ¯»É×ù8¡¢µ÷ÀíÂݸË9¡¢Ëø½ôÂÝĸ10ÒÔ¼°Æø¶¯Ö´ÐÐÆ÷11 £¬Æø¶¯Ö´ÐÐÆ÷11ÉèÓÚ1µÄÉÏ·½ £¬Æø¶¯Ö´ÐÐÆ÷11Ò»²à»¹ÉèÓеçÀÂÃÜ·âÌ×12 £¬Í¨¹ýÔÚÆø¶¯Ö´ÐÐÆ÷11Ò»²àÉèÖõçÀÂÃÜ·âÌ×12 £¬¿ÉÒÔ½«µçÀÂÏß²ØÓÚµçÀÂÃÜ·âÌ×12ÖÐ £¬±ÜÃâ±»Íâ½çÇéÐÎÓ°ÏìʹÓà £¬ÅþÁ¬Æ÷4Ò»¶Ëͨ¹ýÉϲ¿·§¸Ë5ÓëÆø¶¯Ö´ÐÐÆ÷11ÅþÁ¬ £¬ÅþÁ¬Æ÷4ÁíÒ»¶Ëͨ¹ýϲ¿·§¸Ë6Óë·§Ìå1Àο¿ÅþÁ¬ £¬Í¨¹ýÔÚÆø¶¯µ÷Àí·§ÖÐÉèÖÃÅþÁ¬Æ÷4 £¬Í¨¹ýÅþÁ¬Æ÷4ÅþÁ¬Æø¶¯Ö´ÐÐÆ÷11ÒÔ¼°·§Ìå1 £¬Ê¹µÃÆø¶¯Ö´ÐÐÆ÷11ÄÜ·¢¶¯·§Ìå1ÔËÐÐ £¬µ÷ÀíÂݸË9ÉèÓÚÅþÁ¬Æ÷4Á½²à £¬Ëø½ôÂÝĸ10Ðý½ÓÓëµ÷ÀíÂݸË9ÉÏ £¬ÔÚÉϲ¿·§¸Ë5Á½²àÉèÖõ÷ÀíÂݸË9 £¬Í¨¹ýµ÷ÀíÂݸË9ÓëËø½ôÂÝĸ10Ö®¼äµÄÅäºÍ £¬ÔÚÆô±Õ·§ÃÅʱ £¬È·±£·§¸Ç2¡¢·§Ìå1Óë·§°ê31Ö®¼äµÄÃÜ·âÐÔ¼á³ÖÓÅÒì £¬·§¸Ç2ÉèÓÚÆø¶¯Ö´ÐÐÆ÷11Óë·§Ìå1Ö®¼ä £¬Ï²¿·§¸Ë6϶ËÉèÓÚ·§°ê×é¼þ3ÄÚ £¬Ï²¿·§¸Ë6Á½²àÉèÓе¯»É×ù8 £¬µ¯»ÉÉèÓÚµ¯»É×ù8ÉÏ £¬µ¯»É×ù8Óëϲ¿·§¸Ë6³Ê±ÊÖ±½á¹¹ £¬µ¯»ÉÓëϲ¿·§¸Ë6³ÊƽÐнṹ £¬µ¯»É×ù8°üÀ¨Éϵ¯»É×ù81ÒÔ¼°Ïµ¯»É×ù82 £¬Éϵ¯»É×ù81Óëϵ¯»É×ù82³Ê¾¶Ïò¶Ô³ÆÂþÑÜ £¬·§Ìå1Ï·½ÉèÓÐÈë¿Ú13 £¬·§Ìå1ÓÒ²àÉèÓгö¿Ú14 £¬·§°ê×é¼þ3°üÀ¨·§°ê31¡¢·§°ê×ù32¡¢·§°êµ¯»É33ÒÔ¼°oÐÍÃÜ·âȦ34 £¬·§°ê×ù42ÉèÓÚ·§°ê41µÄÏ·½ £¬oÐÍÃÜ·âȦ34ÉèÓÚ·§°ê31Óë·§°ê×ù32Ö®¼ä £¬·§°êµ¯»É33ÉèÓÚ·§°ê×ù32Óë·§Ìå1Ö®¼ä £¬·§°ê31³ÊtÐͽṹ £¬·§°ê31Öв¿ÉèÓа¼²Û35 £¬°¼²Û35Óëϲ¿·§¸Ë6µÄµ×¶ËÏàÊÊÅä £¬Í¨¹ýÔÚ·§°ê×é¼þ3ÖÐÉèÖ÷§°ê×ù32ÒÔ¼°·§°êµ¯»É33 £¬Í¨¹ý·§°ê×ù32ÒÔ¼°·§°êµ¯»É33 £¬Ê¹Æø¶¯µ÷Àí·§¾ßÓзÀÕñ¶¯ÐԺõÄÓŵã £¬Í¨¹ýÔÚ·§°ê×é¼þ3ÖÐÉèÖÃoÐÍÃÜ·âȦ34 £¬Í¨¹ýoÐÍÃÜ·âȦ34¿ÉÒÔÔöÌí·§°ê31Óëϲ¿·§¸Ë6µÄÃÜ·âÐÔ¡£


¡¡¡¡Ê¹ÓÃÒªÁì


¡¡¡¡ÔÚʹÓÃÆø¶¯µ÷Àí·§Ö®Ç° £¬Ê×ÏȾÙÐÐÃÜ·âÊÔÑé £¬ÔÚ·§ÃÅ´¦ÓڹرÕ״̬ʱ £¬´ÓÈë¿ÚͨµÀͨÈëÊÔÑé½éÖÊ £¬ÊÓ²ì³ö¿ÚͨµÀÓÐÎÞ×ß©¡£ÓÉÓÚ¼Ó¹¤Îó²î¡¢×°ÅäµÈ·½ÃæµÄÓ°Ïì £¬·§Ìå1¡¢Éϲ¿·§¸Ë5¡¢Ï²¿·§¸Ë6ÒÔ¼°·§°ê×é¼þ3Ö®¼ä»á±¬·¢Ð©Î¢µÄ¾àÀë £¬Òò´ËÎÞ·¨µÖ´ïÈ«ÃÜ·â״̬ £¬ÊÂÇéÖ°Ô±ÊÖ¶¯µ÷ÀíËø½ôÂÝĸ10 £¬ÔÚµ÷ÀíÂݸË9ÉϾÙÐÐËø½ô·§Ìå1¡¢Éϲ¿·§¸Ë5¡¢Ï²¿·§¸Ë6ÒÔ¼°·§°ê×é¼þ3Ö®¼äËø½ô×°Öà £¬Ëø½ôÂÝ10ĸ·¢¶¯µ÷ÀíÂݸË9˳ʱÕëÐýת £¬ÔÚµ÷ÀíÍâÂÝÎÆºÍµ÷ÀíÄÚÂÝÎÆµÄÅäºÏÏ £¬ÊµÏÖ¶ÔÆø¶¯µ÷Àí·§µÄËø½ôµ÷Àí¡£


¡¡¡¡Ö»¹ÜÒѾ­Ê¾³öºÍÐÎòÁ˱¾ÊÊÓÃÐÂÐ͵ÄʵÑéÀý £¬¹ØÓÚ±¾ÊÂÓòµÄͨË×ÊÖÒÕÖ°Ô±¶øÑÔ £¬¿ÉÒÔÃ÷È·ÔÚ²»ÍÑÀë±¾ÊÊÓÃÐÂÐ͵ÄÔ­ÀíºÍ¾«ÉñµÄÇéÐÎÏ¿ÉÒÔ¶ÔÕâЩʵÑéÀý¾ÙÐжàÖÖת±ä¡¢Ð޸ġ¢Ìæ»»ºÍ±äÐÍ £¬±¾ÊÊÓÃÐÂÐ͵ĹæÄ£ÓÉËù¸½È¨Á¦ÒªÇó¼°ÆäµÈͬÎïÏÞÖÆ¡£


¡¡¡¡ÊÖÒÕÌØÕ÷£º


¡¡¡¡1.Ò»ÖÖÊÖ¶¯Ê½Æø¶¯µ÷Àí·§ £¬ÆäÌØÕ÷ÔÚÓÚ£º°üÀ¨·§Ìå¡¢·§¸Ç¡¢·§°ê×é¼þ¡¢ÅþÁ¬Æ÷¡¢Éϲ¿·§¸Ë¡¢Ï²¿·§¸Ë¡¢µ¯»É¡¢µ¯»É×ù¡¢µ÷ÀíÂݸˡ¢Ëø½ôÂÝĸÒÔ¼°Æø¶¯Ö´ÐÐÆ÷ £¬ËùÊöÆø¶¯Ö´ÐÐÆ÷ÉèÓÚËùÊö·§ÌåµÄÉÏ·½ £¬ËùÊöÅþÁ¬Æ÷Ò»¶Ëͨ¹ýÉϲ¿·§¸ËÓëÆø¶¯Ö´ÐÐÆ÷ÅþÁ¬ £¬ËùÊöÅþÁ¬Æ÷ÁíÒ»¶Ëͨ¹ýϲ¿·§¸ËÓë·§ÌåÀο¿ÅþÁ¬ £¬ËùÊöµ÷ÀíÂݸËÉèÓÚËùÊöÅþÁ¬Æ÷Á½²à £¬ËùÊöËø½ôÂÝĸÐý½ÓÓëËùÊöµ÷ÀíÂݸËÉÏ £¬ËùÊö·§¸ÇÉèÓÚËùÊöÆø¶¯Ö´ÐÐÆ÷Óë·§ÌåÖ®¼ä £¬ËùÊöϲ¿·§¸Ë϶ËÉèÓÚËùÊö·§°ê×é¼þÄÚ £¬ËùÊöϲ¿·§¸ËÁ½²àÉèÓе¯»É×ù £¬ËùÊöµ¯»ÉÉèÓÚËùÊöµ¯»É×ùÉÏ £¬ËùÊö·§ÌåÏ·½ÉèÓÐÈë¿Ú £¬ËùÊö·§ÌåÓÒ²àÉèÓгö¿Ú¡£


¡¡¡¡2.ƾ֤ȨÁ¦ÒªÇó1ËùÊöµÄÒ»ÖÖÊÖ¶¯Ê½Æø¶¯µ÷Àí·§ £¬ÆäÌØÕ÷ÔÚÓÚ£ºËùÊö·§°ê×é¼þ°üÀ¨·§°ê¡¢·§°ê×ù¡¢·§°êµ¯»ÉÒÔ¼°oÐÍÃÜ·âȦ £¬ËùÊö·§°ê×ùÉèÓÚ·§°êµÄÏ·½ £¬ËùÊöoÐÍÃÜ·âȦÉèÓÚËùÊö·§°êÓë·§°ê×ùÖ®¼ä £¬ËùÊö·§°êµ¯»ÉÉèÓÚËùÊö·§°ê×ùÓë·§ÌåÖ®¼ä¡£


¡¡¡¡3.ƾ֤ȨÁ¦ÒªÇó2ËùÊöµÄÒ»ÖÖÊÖ¶¯Ê½Æø¶¯µ÷Àí·§ £¬ÆäÌØÕ÷ÔÚÓÚ£ºËùÊö·§°ê³ÊtÐͽṹ £¬ËùÊö·§°êÖв¿ÉèÓа¼²Û £¬ËùÊö°¼²ÛÓëËùÊöϲ¿·§¸ËµÄµ×¶ËÏàÊÊÅä¡£


¡¡¡¡4.ƾ֤ȨÁ¦ÒªÇó1ËùÊöµÄÒ»ÖÖÊÖ¶¯Ê½Æø¶¯µ÷Àí·§ £¬ÆäÌØÕ÷ÔÚÓÚ£ºËùÊöµ¯»É×ùÓëËùÊöϲ¿·§¸Ë³Ê±ÊÖ±½á¹¹ £¬ËùÊöµ¯»ÉÓëËùÊöϲ¿·§¸Ë³ÊƽÐнṹ¡£


¡¡¡¡5.ƾ֤ȨÁ¦ÒªÇó4ËùÊöµÄÒ»ÖÖÊÖ¶¯Ê½Æø¶¯µ÷Àí·§ £¬ÆäÌØÕ÷ÔÚÓÚ£ºËùÊöµ¯»É×ù°üÀ¨Éϵ¯»É×ùÒÔ¼°Ïµ¯»É×ù £¬ËùÊöÉϵ¯»É×ùÓëËùÊöϵ¯»É×ù³Ê¾¶Ïò¶Ô³ÆÂþÑÜ¡£


¡¡¡¡6.ƾ֤ȨÁ¦ÒªÇó1ËùÊöµÄÒ»ÖÖÊÖ¶¯Ê½Æø¶¯µ÷Àí·§ £¬ÆäÌØÕ÷ÔÚÓÚ£ºËùÊöÆø¶¯Ö´ÐÐÆ÷Ò»²à»¹ÉèÓеçÀÂÃÜ·âÌס£


¡¡¡¡ÊÖÒÕ×ܽá


¡¡¡¡±¾ÊÊÓÃÐÂÐ͹ûÕæÁËÒ»ÖÖÊÖ¶¯Ê½Æø¶¯µ÷Àí·§ £¬°üÀ¨·§Ìå¡¢·§¸Ç¡¢·§°ê×é¼þ¡¢ÅþÁ¬Æ÷¡¢Éϲ¿·§¸Ë¡¢Ï²¿·§¸Ë¡¢µ¯»É¡¢µ¯»É×ù¡¢µ÷ÀíÂݸˡ¢Ëø½ôÂÝĸÒÔ¼°Æø¶¯Ö´ÐÐÆ÷ £¬Æø¶¯Ö´ÐÐÆ÷ÉèÓÚ·§ÌåµÄÉÏ·½ £¬ÅþÁ¬Æ÷Ò»¶Ëͨ¹ýÉϲ¿·§¸ËÓëÆø¶¯Ö´ÐÐÆ÷ÅþÁ¬ £¬ÅþÁ¬Æ÷ÁíÒ»¶Ëͨ¹ýϲ¿·§¸ËÓë·§ÌåÀο¿ÅþÁ¬ £¬µ÷ÀíÂݸËÉèÓÚÅþÁ¬Æ÷Á½²à £¬Ëø½ôÂÝĸÐý½ÓÓëµ÷ÀíÂݸËÉÏ £¬·§¸ÇÉèÓÚÆø¶¯Ö´ÐÐÆ÷Óë·§ÌåÖ®¼ä £¬Ï²¿·§¸Ë϶ËÉèÓÚ·§°ê×é¼þÄÚ £¬Ï²¿·§¸ËÁ½²àÉèÓе¯»É×ù £¬µ¯»ÉÉèÓÚµ¯»É×ùÉÏ £¬·§ÌåÏ·½ÉèÓÐÈë¿Ú £¬·§ÌåÓÒ²àÉèÓгö¿Ú¡£±¾ÊÊÓÃÐÂÐÍͨ¹ýÆø¶¯µ÷Àí·§Öи÷×é¼þÖ®¼äµÄÏ໥ÅäºÏ £¬Ê¹ÓÃÆø¶¯µ÷Àí·§Äڵĵ÷Àí¸Ë £¬¿ÉÒÔÊÖ¶¯µ÷ÀíÆø¶¯µ÷Àí·§µÄËø½ô½á¹¹ £¬Ê¹µÃµ÷Àí·§ÐÔÄÜÎȹÌ £¬½á¹¹¼òÆÓ £¬±ãÓÚÉú²úÖÆÔìºÍ²Ù×÷¡£


±¾ÎÄÁ´½Ó£º/news/news2020820353.html
ÉÏһƪ£º¸ßѹµç¶¯µ÷Àí·§µÄÖÆ×÷ÒªÁì
ÏÂһƪ£ºÒ»ÖÖ×ÔÁ¦Ê½µ÷Àí·§µÄÖÆ×÷ÒªÁì

ÍÆ¼öÎÄÕÂ

µç¶¯µ÷Àí·§ÊÇÔõôʵÏÖµ÷ÀíµÄ-2020-06-08
Æø¶¯µ÷Àí·§ËµÃ÷Êé-2020-04-24
×ÔÁ¦Ê½µ÷Àí·§µÄÊÂÇéÔ­Àí-2020-03-31
Æø¶¯µ÷Àí·§µ÷ÊÔ°ì·¨-2019-12-30
µ÷Àí·§µÄ·§ÌåÀàÐÍÑ¡Ôñ-2019-12-19
µ÷Àí·§µÄÁ÷ÏòÑ¡ÔñºÍÁ÷Á¿ÌØÕ÷Ñ¡Ôñ-2019-12-19
ÎÒÃÇÔõÑùÑ¡Ôñ¸ßÎÂÐ͵綯µ÷Àí·§ÄØ£¿-2019-12-11
µ÷Àí·§Éè¼ÆµÄÊÖÒÕÖ¸±ê-2019-12-06
ÍøÕ¾µØÍ¼